水分含量對充電機充電鋰離子蓄電池性能的影響有多大?
2017-10-10 12:02:36??????點擊:
影響充電機充電鋰電池功能的要素有許多,比如資料品種、正負極壓實密度、水分、涂布面密度及電解液用量等。其間水分對充電機充電鋰離子蓄電池的功能有著至關重要的影響,水分是充電機充電鋰離子蓄電池出產進程中需求嚴格控制的關鍵要素,水分過量時不光能夠導致電解液中鋰鹽的分化并對正負極資料、集流體都有必定的腐蝕損壞效果,并且也導致充電機充電蓄電池的循環功能及安全功能的下降。可是痕量的水分又有重要的含義,下面詳細介紹下水分對充電機充電鋰電池功能的影響。
一、水分過量的壞處
在三元/石墨系統充電機充電蓄電池制作進程中,正極漿料的制備一般會選用油系渙散系統,選用PVDF作為粘結劑,NMP作為溶劑。PVDF遇到過量的水分會生成膠狀的物質,導致漿料的流動性和流平性很差,不利于漿料的涂布。所以,在漿料制備時,有必要留意原資料的水分含量、工作環境以及人員操作進程中水分的引入。
除了對充電機充電鋰電池漿料制備有巨大的影響外,水分過量會引起電解液的分化。反響如下所示:
氫氟酸是一種腐蝕性特別強的酸,會對充電機充電鋰電池正負極資料、集流體構成嚴峻的損壞,終究導致充電機充電蓄電池呈現安全性問題。
二、痕量水分的含義
可是,充電機充電鋰電池中并不是水分越少越好。我們知道,固體電解質界面(俗稱SEI膜)是一層選擇性透過膜,能使Li+自由透過,而電解液分子不能透過。電解液的組成和痕量的添加劑對SEI膜構成的電位、細密程度、充電機充電蓄電池不行逆容量丟失、充電機充電蓄電池內阻等有顯著的影響。而水作為電解液中一種痕量組分,對充電機充電鋰離子蓄電池SEI膜的構成和充電機充電蓄電池功能有必定的影響。
三、水分對充電機充電鋰電池功能的影響
在不同的資料系統中,水分含量對充電機充電蓄電池的功能有很大的影響。可是,不變的是水分對充電機充電鋰電池的初次充放電容量、內阻、充電機充電蓄電池循環壽數、充電機充電蓄電池體積均有影響。下面以鈷酸鋰/石墨系統充電機充電蓄電池來舉例說明。
1.對初次充放電容量的影響
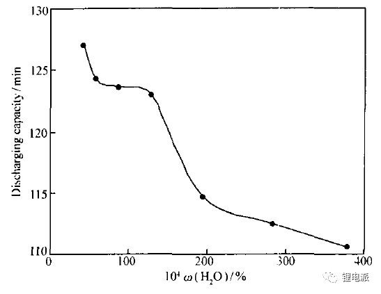
水分與充電機充電鋰電池中SEI的構成有關,必然會影響充電機充電鋰電池的初次不行逆容量丟失。如圖1所示:

圖1.水分含量對充電機充電蓄電池充放電容量影響
在充電機充電蓄電池中水分小于0.015%時,充電機充電蓄電池初次放電容量契合國標且改變較小;在充電機充電蓄電池水分在0.015% ~ 0.04%范圍內時,充電機充電蓄電池初次放電容量隨充電機充電蓄電池中水分的添加而減小。當充電機充電蓄電池中水分含量小于0.015%時,以下反響占主導。

單電子還原進程生成的烷基碳酸鋰還能夠與電解液中的痕量水發作反響,生成碳酸鋰。
2ROCO2 Li+H2O →Li2CO3 +CO2 +2ROH
當生成CO2后, 在低電位下的負極外表,有新的化學反響發作:
2CO2+2Li+ +2e →Li2CO3 +CO
由此可見,適量水分有助于構成以Li2CO3為主、穩定性好、均勻細密的SEI膜。當SEI膜徹底覆蓋負極今后,不行逆反響立即中止。
當水分含量在0.0150%~ 0.04%范圍內時,鋰離子消耗量增多,充電機充電蓄電池充放電容量削減,對其有負面影響。
2.對充電機充電蓄電池內阻的影響
充電機充電蓄電池的內阻是充電機充電蓄電池最為重要的特性參數之一,是表征充電機充電蓄電池循環壽數和運轉狀況的重要參數,是衡量離子和電子在充電機充電蓄電池內傳輸難易程度的首要標志。內阻巨細首要受充電機充電蓄電池資料、制作工藝、充電機充電蓄電池結構等要素的影響。內阻越小,充電機充電蓄電池放電時所占用的電壓越小,輸出的能量越多。關于長時刻存儲的充電機充電蓄電池來說,內阻會跟著存儲時刻的添加而升高,內阻超越必定值時會對充電機充電蓄電池的功能構成很大的影響。因為水分含量對充電機充電鋰電池中SEI膜的質量有影響,簡介影響到了充電機充電蓄電池的內阻。
在EC/DMC /EMC 電解液溶劑系統中, 痕量的水能夠構成以Li2CO3為主、穩定性好、均勻細密的SEI膜,其內阻較小。當水分含量多于系統構成SE I膜的所需含量時, 在SEI膜外表生成POF3和LiF沉積, 導致充電機充電蓄電池內阻添加。如圖2所示:

圖2.水分含量對充電機充電蓄電池內阻的影響
3.對充電機充電蓄電池容量衰減的影響
水分含量影響到充電機充電蓄電池SEI膜的性質,如均勻性和細密程度等,當SE I膜均勻細密時, 電解液溶劑不易嵌入到負極中,占有Li+嵌入空位, 因而容量衰減很少。與此相反,當SEI膜的部分不細密、不均勻時, Li+嵌入空位被電解液溶劑占有相對較簡單。Li2CO3是構成均勻細密SEI膜最首要的組分,EC /DMC /EMC 電解液溶劑系統中,適量的水能促進以Li2CO3為主的SEI膜的構成,當水分含量滿足或許過量時,構成的SEI膜就越細密、均勻,溶劑嵌碳負極的概率就越小。這就是水分在0.015% ~ 0.04%范圍內時, 充電機充電蓄電池容量衰減隨水分含量添加而逐步減小的原因。當水分小于0.015%時,在負極外表構成了較細密的SEI膜, 使溶劑嵌入維持在平衡狀況。因而,充電機充電蓄電池容量衰減維持在比較穩定的狀況。

圖3.水分含量對充電機充電蓄電池容量衰減率的影響
4.對充電機充電蓄電池厚度的影響

圖4.水分含量對充電機充電蓄電池厚度的影響
由圖能夠看出,跟著水分含量的添加,充電機充電蓄電池的厚度也在變大。當水分含量這是因為在SEI 膜構成進程中會發生CO2、CO 等氣體。并且當水分過量時,多余的水會持續與LiPF6反響發生HF 氣體。充電機充電蓄電池內部產氣量關系著充電機充電蓄電池的安全性,為防止充電機充電蓄電池呈現嚴峻的脹氣問題,要嚴格控制充電機充電蓄電池內部的水分。
一、水分過量的壞處
在三元/石墨系統充電機充電蓄電池制作進程中,正極漿料的制備一般會選用油系渙散系統,選用PVDF作為粘結劑,NMP作為溶劑。PVDF遇到過量的水分會生成膠狀的物質,導致漿料的流動性和流平性很差,不利于漿料的涂布。所以,在漿料制備時,有必要留意原資料的水分含量、工作環境以及人員操作進程中水分的引入。
除了對充電機充電鋰電池漿料制備有巨大的影響外,水分過量會引起電解液的分化。反響如下所示:
氫氟酸是一種腐蝕性特別強的酸,會對充電機充電鋰電池正負極資料、集流體構成嚴峻的損壞,終究導致充電機充電蓄電池呈現安全性問題。
二、痕量水分的含義
可是,充電機充電鋰電池中并不是水分越少越好。我們知道,固體電解質界面(俗稱SEI膜)是一層選擇性透過膜,能使Li+自由透過,而電解液分子不能透過。電解液的組成和痕量的添加劑對SEI膜構成的電位、細密程度、充電機充電蓄電池不行逆容量丟失、充電機充電蓄電池內阻等有顯著的影響。而水作為電解液中一種痕量組分,對充電機充電鋰離子蓄電池SEI膜的構成和充電機充電蓄電池功能有必定的影響。
三、水分對充電機充電鋰電池功能的影響
在不同的資料系統中,水分含量對充電機充電蓄電池的功能有很大的影響。可是,不變的是水分對充電機充電鋰電池的初次充放電容量、內阻、充電機充電蓄電池循環壽數、充電機充電蓄電池體積均有影響。下面以鈷酸鋰/石墨系統充電機充電蓄電池來舉例說明。
1.對初次充放電容量的影響
水分與充電機充電鋰電池中SEI的構成有關,必然會影響充電機充電鋰電池的初次不行逆容量丟失。如圖1所示:

圖1.水分含量對充電機充電蓄電池充放電容量影響
在充電機充電蓄電池中水分小于0.015%時,充電機充電蓄電池初次放電容量契合國標且改變較小;在充電機充電蓄電池水分在0.015% ~ 0.04%范圍內時,充電機充電蓄電池初次放電容量隨充電機充電蓄電池中水分的添加而減小。當充電機充電蓄電池中水分含量小于0.015%時,以下反響占主導。

單電子還原進程生成的烷基碳酸鋰還能夠與電解液中的痕量水發作反響,生成碳酸鋰。
2ROCO2 Li+H2O →Li2CO3 +CO2 +2ROH
當生成CO2后, 在低電位下的負極外表,有新的化學反響發作:
2CO2+2Li+ +2e →Li2CO3 +CO
由此可見,適量水分有助于構成以Li2CO3為主、穩定性好、均勻細密的SEI膜。當SEI膜徹底覆蓋負極今后,不行逆反響立即中止。
當水分含量在0.0150%~ 0.04%范圍內時,鋰離子消耗量增多,充電機充電蓄電池充放電容量削減,對其有負面影響。
2.對充電機充電蓄電池內阻的影響
充電機充電蓄電池的內阻是充電機充電蓄電池最為重要的特性參數之一,是表征充電機充電蓄電池循環壽數和運轉狀況的重要參數,是衡量離子和電子在充電機充電蓄電池內傳輸難易程度的首要標志。內阻巨細首要受充電機充電蓄電池資料、制作工藝、充電機充電蓄電池結構等要素的影響。內阻越小,充電機充電蓄電池放電時所占用的電壓越小,輸出的能量越多。關于長時刻存儲的充電機充電蓄電池來說,內阻會跟著存儲時刻的添加而升高,內阻超越必定值時會對充電機充電蓄電池的功能構成很大的影響。因為水分含量對充電機充電鋰電池中SEI膜的質量有影響,簡介影響到了充電機充電蓄電池的內阻。
在EC/DMC /EMC 電解液溶劑系統中, 痕量的水能夠構成以Li2CO3為主、穩定性好、均勻細密的SEI膜,其內阻較小。當水分含量多于系統構成SE I膜的所需含量時, 在SEI膜外表生成POF3和LiF沉積, 導致充電機充電蓄電池內阻添加。如圖2所示:

圖2.水分含量對充電機充電蓄電池內阻的影響
3.對充電機充電蓄電池容量衰減的影響
水分含量影響到充電機充電蓄電池SEI膜的性質,如均勻性和細密程度等,當SE I膜均勻細密時, 電解液溶劑不易嵌入到負極中,占有Li+嵌入空位, 因而容量衰減很少。與此相反,當SEI膜的部分不細密、不均勻時, Li+嵌入空位被電解液溶劑占有相對較簡單。Li2CO3是構成均勻細密SEI膜最首要的組分,EC /DMC /EMC 電解液溶劑系統中,適量的水能促進以Li2CO3為主的SEI膜的構成,當水分含量滿足或許過量時,構成的SEI膜就越細密、均勻,溶劑嵌碳負極的概率就越小。這就是水分在0.015% ~ 0.04%范圍內時, 充電機充電蓄電池容量衰減隨水分含量添加而逐步減小的原因。當水分小于0.015%時,在負極外表構成了較細密的SEI膜, 使溶劑嵌入維持在平衡狀況。因而,充電機充電蓄電池容量衰減維持在比較穩定的狀況。

圖3.水分含量對充電機充電蓄電池容量衰減率的影響
4.對充電機充電蓄電池厚度的影響

圖4.水分含量對充電機充電蓄電池厚度的影響
由圖能夠看出,跟著水分含量的添加,充電機充電蓄電池的厚度也在變大。當水分含量這是因為在SEI 膜構成進程中會發生CO2、CO 等氣體。并且當水分過量時,多余的水會持續與LiPF6反響發生HF 氣體。充電機充電蓄電池內部產氣量關系著充電機充電蓄電池的安全性,為防止充電機充電蓄電池呈現嚴峻的脹氣問題,要嚴格控制充電機充電蓄電池內部的水分。
- 上一篇:智能制造將如何影響充電機充電動力蓄電池企業? 2017/10/10
- 下一篇:示波器QC2.0/3.0蓄電池充電機快充協議解碼方案 2017/10/10
