如何構建分布式光伏發電網絡和仿真設計?
2019-9-17 8:50:36??????點擊:
分布式光伏發電主要服務于戶用和工業廠房,本質上每個發電用戶都是一座小型電站,目前普遍采用并網的方式由國家電網來完成電力的統一調配,但存在不能實時計算輸電路由、不能控制電量調配和電力傳輸距離、傳輸損耗大等問題。
本文提出了分布式光伏發電網絡的構建方案,重點對能源路由器進行了研究和設計,通過連接分布式光伏發電網絡各節點來實現電力能源點對點傳輸,利用云能源運算中心來進行統一運算及智能調度,可以對電力能源進行統一管理、監控、輸電、計費,實現一定區域內電力能源互聯、互通和共享。
隨著化石能源的枯竭和環境不斷變化,我國分布式光伏發電體系已經建立,目前主要通過國家補貼方式來維持運作,實現與國家電網并網發電、光伏個體自發自用和余電上網的運營模式。國家發改委、財政部、能源局三部門在2018年5月31日聯合下發《關于2018年光伏發電有關事項的通知》(下面簡稱“新政”)。新政通過嚴控光伏新建規模、下調補貼等舉措,給近年來高速發展的光伏行業“降速”。
新政為光伏能源的發展指明了方向:鼓勵光伏發電與用戶的直接電力交易,有效降低交易費用,繼續推進新能源、微電網等有利于分布式光伏發展的新業態和新模式,促進光伏產業健康有序發展。
目前,分布式光伏發電主要服務于戶用或工業廠房,每個個體本質上都是一座小型電站,與傳統的光伏電站建設相比,在資金的投入和維護成本上都要低很多。但是目前普遍采用的并網方式是由國家電網來完成電力輸送的任務,輸電的主體由中間節點來控制,不能實時地計算輸電路由和及時進行電量調配,不能控制電力傳輸距離,傳輸損耗也大。
“能源互聯網”概念是2011年由美國著名學者杰里米?里夫金在其著作《第三次工業革命》中首次提出的,未來的能源體系是可再生能源+互聯網為基礎的能源共享網絡。能源互聯網在能源接入、能源控制和能源傳輸等方面面臨諸多問題和挑戰,但互聯網技術的發展為能源互聯網指明了技術方向,因此,借鑒互聯網路由設計理念來打下能源網絡互聯網的基礎,通過設計各級別的“能源路由器(Energy Router, ER)”來對電力能源和數據進行調度及其控制,已成為目前業界可行的設計方案。
1 分布式光伏發電網絡解決方案設計
1.1 分布式光伏發電網絡總體結構設計
互聯網經過幾十年的發展已趨于成熟,其本質是實現不同地域的信息和資源共享。提出能源互聯網的初衷在于實現能源的高效傳輸、共享和利用,為經濟社會發展提供堅實的能源基礎設施。因此,互聯網的發展模式對分布式光伏發電網絡的構建具有參考意義。
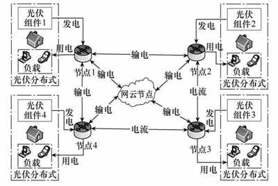
分布式光伏電力能源在每時每刻的發電量和電能質量都會存在變化。每節點的用戶實際對電能需求不一樣,在設計時會優先考慮發電的自用,然后才會對多余的電進行傳輸和轉換[9],所以需要通過構建能源路由器來實現節點發電、用電、余電的監測、調配和傳輸。分布式光伏發電網絡總體拓撲如圖1所示。

圖1 分布式光伏發電網絡總體拓撲圖
分布式光伏能源使用太陽能來進行發電,各節點被連接在能源路由器上,在多個能源路由器之間進行互聯,以構成區域輸電網絡,而區域輸電網絡再與能源廣域網進行互聯,在云端能源廣域網可以對電網群進行電力數據的監測和管理分配,輸電控制由能源路由器進行轉發,路由也由能源路由器建立,通過移動終端讓用戶通過移動網絡與能源運算中心進行交互,實時獲取數據,也可以將交互信息發送到能源運算中心。
1)能源廣域網。主要由數據服務器群、數據存儲區、能源運算中心、服務器、廣域網能源路由器群等構成。通信服務器接收各節點信息并發往數據中心,運算中心負責將接收的指令進行分析、判斷、篩選并向下發送指令,數據存儲區存儲發電數據供用戶查詢,數據庫服務器負責與能源運算中心進行信息交互,生成動態的實時數據。
2)分布式光伏電網群。即戶用、工業分布式能源節點,由現有房屋、光伏發電板、蓄電池和能源路由模塊所構成的光伏房屋電網群,光伏所發電存至儲能設備,能源路由模塊負責監測實時發電、用電、余電,將數據發至云端并控制各節點輸電線路開關,建立輸電路由進行電力能源轉發。
1.2 能源路由器設計
光伏發電組件、用電負載設備、逆變器等均被接入能源路由器中,能源路由器可以服務單節點,也可以服務于多節點,與區域中其他能源路由器通過線路進行互聯,構成區域局域網絡,每個節點均有發電和用電監測傳感器,若節點用電自給自足,即節點發電大于負載用電,則電量富余;若節點發電小于負載用電,則缺電,需要電力富余的節點輸電補充。只有當節點電量有富余時,能源路由器才將余電輸送至其他缺電節點。多節點能源路由器的仿真結構設計如圖2所示。
圖2中顯示的是4節點能源路由器的結構設計,外部連接光伏組件、負載、通信網絡,內部主要由網絡模塊、主控模塊、電路控制模塊、數據監測模塊、供電模塊構成,詳述如下。
1)網絡模塊。服務器與硬件通過網絡通信模塊連接流通數據,服務器將網絡之間互連的協議(intellectual property, IP)數據報文發送到以太網通信串口模塊中,以太網串口將傳入數據與RS 232信號轉換。模塊內部封裝了TCP/IP協議,可正常實現數據傳輸功能,也可以增加4G、WiFi模塊用于連接無線網絡。
2)主控模塊。使用嵌入式CPU芯片作為硬件控制核心,通常為ARM結構,曾稱進階精簡指令集機器(advanced RISC machines, ARM),是一個32位精簡指令集(RISC)處理器架構,以實現路由器數據處理和軟硬件的控制功能。
3)電力控制模塊。可以選用固態繼電器、電子開關等,實現節點間電路的通斷以及電力的流通。
4)數據監測模塊。負責監測每個節點實時的發電和用電數據,并對數據進行統計分析,將數據上傳到能源運算中心。
5)供電模塊。指提供能源路由器基礎的硬件供電,保證路由器硬件的正常運作。
6)指令集設計。能源路由器控制部分的指令集設計示例見表1。

表1 能源路由器控制部分的指令集設計示例
1.3 電力流向控制(略)
通過基爾霍夫定律施行高低壓電流導向傳輸方案,當存在富余電量和缺電時,余電可按需多向傳輸,保持就地給電、取電的動態平衡。
1.4 能源路由表的構建及路徑選擇
迪杰斯特拉(Dijkstra)算法主要用來解決最短路徑的問題,通過按路徑長度遞增的次序產生最短路徑。最短路徑計算公式為D[j]=Min{D[i]|vi∈V} (4)
式中,引入一個輔助向量D,它的每個分量D[i]表示當前找到的從始點v到每個終點vi的最短路徑的長度。它的初態為:若從v到vi有弧,則D[i]為弧上的權值;否則置D[i]為∞。
1)能源路由表的構建方法
能源路由器使用Dijkstra最短路徑算法來計算當前節點到其他各節點間最短路徑,以便實現近距離的電力輸送,提高輸電效率。能源路由表的構建方法如下:
(1)路由設備初始化起動時,此時只有自身一個節點。
(2)路由通過通信通道,確認在物理上與之直連的節點值ID。當能源路由器開始工作時,會發送報文至其他節點,每個節點接收到信息都會返回自身ID及其他相關信息。
(3)確認每個節點返回信息的時間及節點經過的跳數(每個接收到數據包的節點返回一個應答分組報文。將路徑往返時間折半計算,計算時延),獲得最終穩定路由表。
(4)動態更新。節點每隔一段時間發送更新報文,同時接收其他節點的實時信息,報文中攜帶路由表信息,節點根據接收的路由表信息更新路由表,通過路由表的動態更新可得知區域網絡節點的變化,如:節點增加或減少。
能源路由表的構建示例見表2。如表2所示,節點標志字段分為以下兩種類型。

表2 能源路由表的構建示例
(1)U:該路由可以使用。
(2)G:該路由是到一個節點。如果沒有設置該標志,就說明目的地是直接相連的;由它區分了間接路由和直接路由(直連的節點不需要設置標志G)。
2)能源路由表的路徑選擇
能源路由器通過節點生成能源路由表,從而明確了網絡中路由器的位置以及它們之間的鏈接關系。在路由表中計算每個節點跳數和通往其他節點所需的時長,來指導電力轉發路徑的選擇。
當光伏節點在供電自發自用的基礎上仍有富余電能時,此時能源路由器接收服務器指令,導通對應輸電點,將電量從余電點抽調到缺電點,A到D之間若最近線路被占用或被棄用,則根據路由所建立的路由表,將自動劃分最優化的輸電路徑來導通電力傳輸點。
根據有效路徑路由算法策略(efficient path strategy, EPS),可將能源路由傳輸點i與能源路由目的點j之間的可能傳輸路徑定義為P(i→j)?i≡x0,x1,…,x(n?1), xn≡j (5)
式(5)結合路由表中的路由跳數和傳輸時間等因素,選擇最佳的傳輸路徑進行能源的輸送,以動態調整輸電線路。
2 實驗仿真測試與分析(略)

圖3 實驗拓撲圖
根據實測數據分析,當節點內部用電量高于節點發電量時,可通過能源運算中心發送輸電指令,能源路由器通過路由表和路由算法將其余節點余電送至缺電節點,使各節點負載能夠正常運作,并記錄詳細輸電電量,完成電力能源的互聯共享,保證區域內節點的用電。
總結
構建分布式光伏發電網絡能夠將分散的電力能源進行綜合利用和共享,分布式光伏發電中的能源管理、能源分配、能源傳輸等問題是需解決的主要問題。本文借助互聯網成功的經驗,提出了分布式光伏發電網絡設計方案,重點對分布式光伏發電網絡構建的核心能源路由器進行了研究和設計,并在實驗環境下進行了仿真測試。經過測試證明,所設計的能源路由器模型能夠完成電力能源的尋址和轉發。
本文提出了分布式光伏發電網絡的構建方案,重點對能源路由器進行了研究和設計,通過連接分布式光伏發電網絡各節點來實現電力能源點對點傳輸,利用云能源運算中心來進行統一運算及智能調度,可以對電力能源進行統一管理、監控、輸電、計費,實現一定區域內電力能源互聯、互通和共享。
隨著化石能源的枯竭和環境不斷變化,我國分布式光伏發電體系已經建立,目前主要通過國家補貼方式來維持運作,實現與國家電網并網發電、光伏個體自發自用和余電上網的運營模式。國家發改委、財政部、能源局三部門在2018年5月31日聯合下發《關于2018年光伏發電有關事項的通知》(下面簡稱“新政”)。新政通過嚴控光伏新建規模、下調補貼等舉措,給近年來高速發展的光伏行業“降速”。
新政為光伏能源的發展指明了方向:鼓勵光伏發電與用戶的直接電力交易,有效降低交易費用,繼續推進新能源、微電網等有利于分布式光伏發展的新業態和新模式,促進光伏產業健康有序發展。
目前,分布式光伏發電主要服務于戶用或工業廠房,每個個體本質上都是一座小型電站,與傳統的光伏電站建設相比,在資金的投入和維護成本上都要低很多。但是目前普遍采用的并網方式是由國家電網來完成電力輸送的任務,輸電的主體由中間節點來控制,不能實時地計算輸電路由和及時進行電量調配,不能控制電力傳輸距離,傳輸損耗也大。
“能源互聯網”概念是2011年由美國著名學者杰里米?里夫金在其著作《第三次工業革命》中首次提出的,未來的能源體系是可再生能源+互聯網為基礎的能源共享網絡。能源互聯網在能源接入、能源控制和能源傳輸等方面面臨諸多問題和挑戰,但互聯網技術的發展為能源互聯網指明了技術方向,因此,借鑒互聯網路由設計理念來打下能源網絡互聯網的基礎,通過設計各級別的“能源路由器(Energy Router, ER)”來對電力能源和數據進行調度及其控制,已成為目前業界可行的設計方案。
1 分布式光伏發電網絡解決方案設計
1.1 分布式光伏發電網絡總體結構設計
互聯網經過幾十年的發展已趨于成熟,其本質是實現不同地域的信息和資源共享。提出能源互聯網的初衷在于實現能源的高效傳輸、共享和利用,為經濟社會發展提供堅實的能源基礎設施。因此,互聯網的發展模式對分布式光伏發電網絡的構建具有參考意義。
分布式光伏電力能源在每時每刻的發電量和電能質量都會存在變化。每節點的用戶實際對電能需求不一樣,在設計時會優先考慮發電的自用,然后才會對多余的電進行傳輸和轉換[9],所以需要通過構建能源路由器來實現節點發電、用電、余電的監測、調配和傳輸。分布式光伏發電網絡總體拓撲如圖1所示。

圖1 分布式光伏發電網絡總體拓撲圖
分布式光伏能源使用太陽能來進行發電,各節點被連接在能源路由器上,在多個能源路由器之間進行互聯,以構成區域輸電網絡,而區域輸電網絡再與能源廣域網進行互聯,在云端能源廣域網可以對電網群進行電力數據的監測和管理分配,輸電控制由能源路由器進行轉發,路由也由能源路由器建立,通過移動終端讓用戶通過移動網絡與能源運算中心進行交互,實時獲取數據,也可以將交互信息發送到能源運算中心。
1)能源廣域網。主要由數據服務器群、數據存儲區、能源運算中心、服務器、廣域網能源路由器群等構成。通信服務器接收各節點信息并發往數據中心,運算中心負責將接收的指令進行分析、判斷、篩選并向下發送指令,數據存儲區存儲發電數據供用戶查詢,數據庫服務器負責與能源運算中心進行信息交互,生成動態的實時數據。
2)分布式光伏電網群。即戶用、工業分布式能源節點,由現有房屋、光伏發電板、蓄電池和能源路由模塊所構成的光伏房屋電網群,光伏所發電存至儲能設備,能源路由模塊負責監測實時發電、用電、余電,將數據發至云端并控制各節點輸電線路開關,建立輸電路由進行電力能源轉發。
1.2 能源路由器設計
光伏發電組件、用電負載設備、逆變器等均被接入能源路由器中,能源路由器可以服務單節點,也可以服務于多節點,與區域中其他能源路由器通過線路進行互聯,構成區域局域網絡,每個節點均有發電和用電監測傳感器,若節點用電自給自足,即節點發電大于負載用電,則電量富余;若節點發電小于負載用電,則缺電,需要電力富余的節點輸電補充。只有當節點電量有富余時,能源路由器才將余電輸送至其他缺電節點。多節點能源路由器的仿真結構設計如圖2所示。
圖2中顯示的是4節點能源路由器的結構設計,外部連接光伏組件、負載、通信網絡,內部主要由網絡模塊、主控模塊、電路控制模塊、數據監測模塊、供電模塊構成,詳述如下。
1)網絡模塊。服務器與硬件通過網絡通信模塊連接流通數據,服務器將網絡之間互連的協議(intellectual property, IP)數據報文發送到以太網通信串口模塊中,以太網串口將傳入數據與RS 232信號轉換。模塊內部封裝了TCP/IP協議,可正常實現數據傳輸功能,也可以增加4G、WiFi模塊用于連接無線網絡。
2)主控模塊。使用嵌入式CPU芯片作為硬件控制核心,通常為ARM結構,曾稱進階精簡指令集機器(advanced RISC machines, ARM),是一個32位精簡指令集(RISC)處理器架構,以實現路由器數據處理和軟硬件的控制功能。
3)電力控制模塊。可以選用固態繼電器、電子開關等,實現節點間電路的通斷以及電力的流通。
4)數據監測模塊。負責監測每個節點實時的發電和用電數據,并對數據進行統計分析,將數據上傳到能源運算中心。
5)供電模塊。指提供能源路由器基礎的硬件供電,保證路由器硬件的正常運作。
6)指令集設計。能源路由器控制部分的指令集設計示例見表1。

表1 能源路由器控制部分的指令集設計示例
1.3 電力流向控制(略)
通過基爾霍夫定律施行高低壓電流導向傳輸方案,當存在富余電量和缺電時,余電可按需多向傳輸,保持就地給電、取電的動態平衡。
1.4 能源路由表的構建及路徑選擇
迪杰斯特拉(Dijkstra)算法主要用來解決最短路徑的問題,通過按路徑長度遞增的次序產生最短路徑。最短路徑計算公式為D[j]=Min{D[i]|vi∈V} (4)
式中,引入一個輔助向量D,它的每個分量D[i]表示當前找到的從始點v到每個終點vi的最短路徑的長度。它的初態為:若從v到vi有弧,則D[i]為弧上的權值;否則置D[i]為∞。
1)能源路由表的構建方法
能源路由器使用Dijkstra最短路徑算法來計算當前節點到其他各節點間最短路徑,以便實現近距離的電力輸送,提高輸電效率。能源路由表的構建方法如下:
(1)路由設備初始化起動時,此時只有自身一個節點。
(2)路由通過通信通道,確認在物理上與之直連的節點值ID。當能源路由器開始工作時,會發送報文至其他節點,每個節點接收到信息都會返回自身ID及其他相關信息。
(3)確認每個節點返回信息的時間及節點經過的跳數(每個接收到數據包的節點返回一個應答分組報文。將路徑往返時間折半計算,計算時延),獲得最終穩定路由表。
(4)動態更新。節點每隔一段時間發送更新報文,同時接收其他節點的實時信息,報文中攜帶路由表信息,節點根據接收的路由表信息更新路由表,通過路由表的動態更新可得知區域網絡節點的變化,如:節點增加或減少。
能源路由表的構建示例見表2。如表2所示,節點標志字段分為以下兩種類型。

表2 能源路由表的構建示例
(1)U:該路由可以使用。
(2)G:該路由是到一個節點。如果沒有設置該標志,就說明目的地是直接相連的;由它區分了間接路由和直接路由(直連的節點不需要設置標志G)。
2)能源路由表的路徑選擇
能源路由器通過節點生成能源路由表,從而明確了網絡中路由器的位置以及它們之間的鏈接關系。在路由表中計算每個節點跳數和通往其他節點所需的時長,來指導電力轉發路徑的選擇。
當光伏節點在供電自發自用的基礎上仍有富余電能時,此時能源路由器接收服務器指令,導通對應輸電點,將電量從余電點抽調到缺電點,A到D之間若最近線路被占用或被棄用,則根據路由所建立的路由表,將自動劃分最優化的輸電路徑來導通電力傳輸點。
根據有效路徑路由算法策略(efficient path strategy, EPS),可將能源路由傳輸點i與能源路由目的點j之間的可能傳輸路徑定義為P(i→j)?i≡x0,x1,…,x(n?1), xn≡j (5)
式(5)結合路由表中的路由跳數和傳輸時間等因素,選擇最佳的傳輸路徑進行能源的輸送,以動態調整輸電線路。
2 實驗仿真測試與分析(略)

圖3 實驗拓撲圖
根據實測數據分析,當節點內部用電量高于節點發電量時,可通過能源運算中心發送輸電指令,能源路由器通過路由表和路由算法將其余節點余電送至缺電節點,使各節點負載能夠正常運作,并記錄詳細輸電電量,完成電力能源的互聯共享,保證區域內節點的用電。
總結
構建分布式光伏發電網絡能夠將分散的電力能源進行綜合利用和共享,分布式光伏發電中的能源管理、能源分配、能源傳輸等問題是需解決的主要問題。本文借助互聯網成功的經驗,提出了分布式光伏發電網絡設計方案,重點對分布式光伏發電網絡構建的核心能源路由器進行了研究和設計,并在實驗環境下進行了仿真測試。經過測試證明,所設計的能源路由器模型能夠完成電力能源的尋址和轉發。
- 上一篇:換電模式發展的瓶頸在哪里? 2019/10/9
- 下一篇:電動車充電機無線供電系統多負載模式分析及導軌結構優化設計 2019/9/17
